网站首页
关于我们
米兰app正版直播下载安装官网
米兰体育彩票官方网站
行业应用
在线留言
联系我们
咨询服务热线
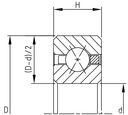
英制等截面薄壁四点接触球轴承 X型四点角接触球轴承与A、C型轴承的区别在于其滚珠沟槽的形状。深沟槽深度与四点接触结构使轴承能够承受径向、轴向载荷以及扭矩载荷。类似于一对A型轴承的背对背组合。
咨询电话:
豫公网安备 41032202000136号